یکی از مشکلات بزرگ گوشیهای تاشو سامسونگ این است که هنوز هم چروکیدگیهای قابلتوجهی را روی نمایشگرهای خود ایجاد میکنند. اما بر اساس اطلاعات اخیرا منتشر شده، این وضعیت احتمالا با عرضه گلکسی زد فولد 5 دستخوش تغییر خواهد شد.
گزارش جدید وبسایت Naver News نشان میدهد که سامسونگ برای مدل آینده گلکسی زد فولد از مکانیسم لولای قطرهای جدید استفاده خواهد کرد. این لولا موجب از بین رفتن چینخوردگی آزاردهنده روی نمایشگر شده و به پنل امکان میدهد تا بهصورت کاملا صاف تا شود.
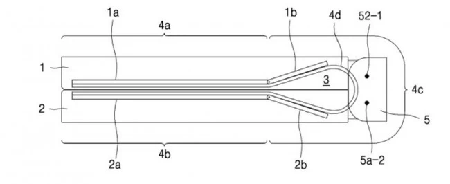
مکانیسم لولایی جدید نشاندهنده نمایشگر تاشویی است که هنگام تا شدن، فضایی قطرهای شکل در قسمت داخلی بدنه لولا تشکیل میشود. این موضوع از ایجاد چینخوردگی در 2 طرف پنل جلوگیری میکند. پیش از این برای گوشی موتورولا ریزر و سری اوپو فایند N نیز رویکرد مشابهی پیادهسازی شد.
گوشیهای گلکسی زد فولد 4 و گلکسی زد فلیپ 4 سامسونگ کماکان از لولای U شکل استفاده میکنند. این دستگاهها کماکان دارای چروکیدگیهای قابلتوجهی بوده و نمیتوانند بهطور کاملا صاف بسته شوند. انتظار میرود که سامسونگ در گوشی تاشو آینده گلکسی زد فولد 5 خود کماکان رتبه حفاظتی IPX8 در برابر آبخوردگی را حفظ نماید.

پتنت لولای نمایشگر تاشو قطرهای سامسونگ دیسپلی در سال 2016




